Er dette en patent for PlayStation 4?
Sony har patentert det som kan se ut som en direkte Wii U-konkurrent.
(PressFire.no): Høres det kjent ut at neste generasjons konsollopplevelse inkluderer en håndholdt enhet med et eget display, og som samhandler med det som skjer på TV-skjermen?
En patent Sony søkte om i 2010, som VentureBeat nå har snublet over, tyder på at Nintendo med deres Wii U ikke er de eneste som har tenkt i de baner.
Sony la inn en patentsøknad med tittelen «Position-Dependent Gaming 3-D controller, and Handheld as a Remote». Altså en 3D-kontroller, neppe ulik et trykkfølsomt nettbrett, som leser- og avhenger av sin relative posisjon i forhold til skjermen og andre spillere.
Kan dette være en pekepinn for hva vi kan vente oss av PlayStation 4?
NB: Se flere bilder i galleriet til høyre.

Hard konkurranse
De siste årene har vi sett en trend mot å skape en spillopplevelse som omfatter mer en den klassiske håndkontrolleren.
De bevegelsesfølsomme kontrollerne til Nintendo Wii, og Sonys eget, tilsvarende konsept, PlayStation Move, er blant eksemplene. Selvfølgelig sammen med Microsoft sin helt kontrollerfrie Kinect.
Ryktene tilsier at neste Xbox kan komme med en (ny?) Kinect-løsning ut av boksen. Og Wii U prøver altså et helt nytt konsept, med sine håndkontrollere med eget display. Kanskje vil også Sony levere noe mer enn sin vante kontroller med sin neste PlayStation?

Interaksjon med andre spillere
I patentsøknaden, som du kan lese i sin helhet her, skriver Sony at spill både på mobile enheter og konsoll kan være en i overkant statisk opplevelse, og at de ønsker å tilrettelegge for interaksjon med spillerens fysiske omgivelser, og også fysisk bevegelse og interaksjon med eventuelle andre spillere.
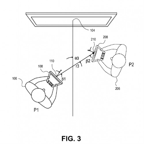
Selve den fysiske posisjonen til den håndholdte enheten som et element i spillopplevelsen, er noe Sony vil unytte med denne patenten.
Enhetens posisjon og retning, og den andre spillerens enhets posisjon og retning, skal derfor kunne leses og brukes. På skjermen skal det dukke opp avatarer for spillerne, som ser ut til å overlappe de virkelige spillerne. Avatarene skal kunne gjengi spillernes hode- og kroppsposisjoner, som altså også må kunne leses av.
Om dette er en patent tenkt til å brukes mot PlayStation 4, eller om Sony bare sikrer seg for fremtidige muligheter, er vanskelig å si. Enheten kan også være tenkt uavhengig av en konsoll, og noen av de nevnte funksjonene kan også ha vært planlagt mot den nært forestående mobile konsollen deres, PlayStation Vita.